2023国考预告已出
10月25日开始报名
12月3日至4日举行笔试

2023国考或将在往年基础上继续保持“扩招”状态,但是机遇与挑战并存,国家公务员考试招录人数虽多,竞争也异常激烈。想要参考的小伙伴,在距离公告发布时间越来越近的现在务必抢先制定合理的复习计划,抓紧时间备考!

下半年最重要的公务员考试就是国家公务员考试
了!一年一次的机会,符合条件的同学可千万不能错过
2023国家公务员考试10月25发布公告、组织报名,12月3-4日笔试!
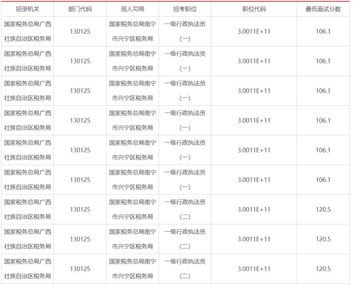
俗话说,考得好不如报得好,选择一个好岗位,大大增加考上几率。那么今天就来给大家介绍22年南宁地市的招录情况、报名情况、分数线情况,为大家提供参考。后续还会发布广西其他地市的情况,持续关注我们哦!

2023国家公务员考试公告、职位表尚未发布,广西中公教育对2022国考(南宁地区)招录情况进行分析,供大家选岗参考。




声明:本文由广西中公教育原创,转载请于正文开头明确标注来源:广西中公教育。如未标注出处私自转载,将追究相关版权法律责任。




本图文由用户发布,该文仅代表作者本人观点,本站仅提供信息存储空间服务。如发现本站有涉嫌抄袭侵权/违法违规的内容,联系本站举报。转发注明出处:https://www.xsy-edu.com/n/43493.html
